Ulubione projekty

Twoja lista jest pusta

Dodano projekt

Usunięto projekt

Izolacja stropodachów

Stropodach w budownictwie jednorodzinnym to reaktywowany trend, który w ostatnich latach spotyka się z rosnącym zainteresowaniem inwestorów wybierających nowoczesną architekturę. Ze względu na wymagania techniczne, stropodach stanowi jeden z trudniejszych dachów do wykonania.

Nowoczesna architektura

W budownictwie jednorodzinnym stosunkowo niewielki odsetek budynków pokrywany jest stropodachem. Wynika to zarówno z preferencji inwestorów, jak i z wytycznych zawartych w Planie Miejscowym lub Decyzji o Warunkach Zabudowy, które często wykluczają niewielkie kąty nachylenia połaci. W ostatnich latach, w związku z rosnącą popularnością nowoczesnej architektury, stropodachy zyskują nowych zwolenników.

Zastosowanie

Stropodachy znajdują zastosowanie głównie przy niewielkich kątach nachylenia - do ok. 20 stopni. Z punktu widzenia inwestora, główną zaletą wykonania stropodachu, jest zachowanie stałej wysokości  pomieszczeń na poddaszu oraz ograniczenie powierzchni dachu do minimum. Płaskie dachy są stosowane głównie w budownictwie inspirowanym stylem nowoczesnym.

Budowa

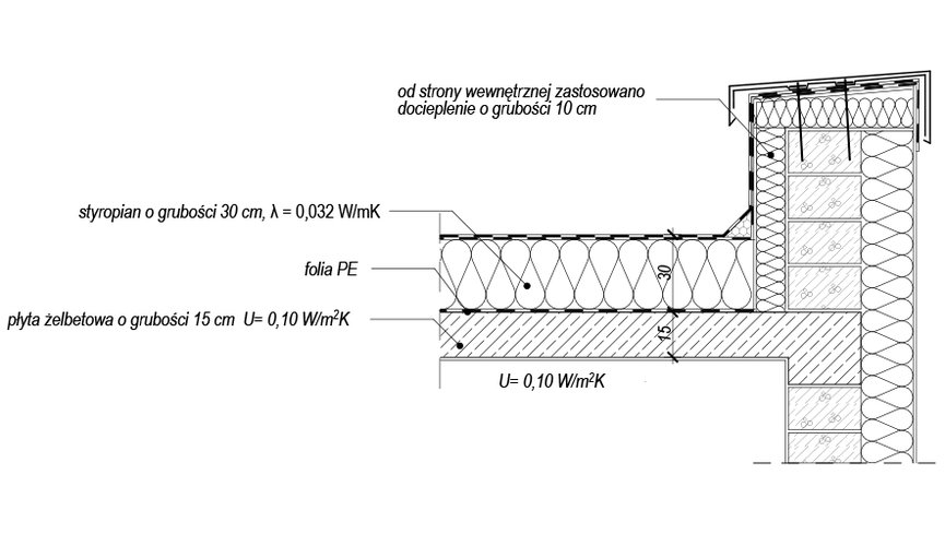
Stropodachy to złożone, wielowarstwowe przegrody budowlane, w których poszczególne warstwy pełnią różnorodne funkcje. Z tego względu układ i rodzaj warstwy zależy od rodzaju konstrukcji, sposobu użytkowania i warunków zewnętrznych. Stropodachy to nie tylko dachy płaskie, ale także tarasy użytkowe, daszki wykuszy i zielone tarasy.  

Podział stropodachów

Stropodachy można podzielić na jedno i dwudzielne, wentylowane i niewentylowane. Dwudzielne składają się z części dolnej - warstwy nośnej, izolacji termicznej, przestrzeni wentylowanej i górnej części jako pokrycia dachowego. Różnica w rodzaju wentylacji dotyczy możliwości wentylowania przestrzeni nad ociepleniem. Za trwalszy uważa się stropodach wentylowany. Wentylacja zapobiega zawilgoceniu izolacji termicznej przy przenikaniu pary wodnej z pomieszczeń ogrzewanych.


Czytaj również:

Bezpłatna pomoc architekta

Wypełnij formularz, skontaktujemy się z Tobą.

Zamawiając usługi forum i dzienników budowy, przyjmujesz do wiadomości i wyrażasz zgodę na świadczenie tych usług i przetwarzanie przez Usługodawcę, którym jest Pracownia Projektowa ARCHIPELAG A. Wójciak, R. Wójciak Sp. J., jako Administratora danych, podanych w formularzu danych osobowych, na zasadach wskazanych w Regulaminie i Polityce Prywatności serwisu ARCHIPELAG.pl.

Jeśli chcesz także otrzymywać bonusy i informacje dotyczące akcji promocyjnych naszych i naszych Partnerów, wyraź zgodę dodatkową i zaznacz odpowiednie pole. Wyrażam zgodę na przetwarzanie moich danych osobowych przez administratora, którym jest Pracownia Projektowa ARCHIPELAG A. Wójciak, R. Wójciak Sp. J. z siedzibą: ul. M. Smoluchowskiego 56/3, 50-372 Wrocław, nr KRS 0000123673, NIP: 897-16-05-744, REGON: 931987209:

Na podstawie art. 13 Rozporządzenia Parlamentu Europejskiego i Rady (UE) 2016/679 z dnia 27 kwietnia 2016 r. w sprawie ochrony osób fizycznych w związku z przetwarzaniem danych osobowych i w sprawie swobodnego przepływu takich danych oraz uchylenia dyrektywy 95/46/WE (RODO) informujemy Cię, że (przeczytaj klauzulę informacyjną):

czytaj całość ›
Pola oznaczone gwiazdką (*) są obowiązkowe do wypełnienia